欢迎访问开云手机平台官网!
开云(中国)
开云(中国)
加入我们
0755-26786865
15818532899
开云(中国)
DC-DC降压恒压
DC-DC降压恒压
开云手机平台3051B
开云手机平台3052B
开云手机平台1588
开云手机平台1588H
1588M
开云手机平台1588B
开云手机平台1588C
开云手机平台1586C
开云手机平台1581
开云手机平台1587
DC-DC降压恒流
DC-DC降压恒流
开云手机平台9003
开云手机平台9006
开云手机平台9004
开云手机平台8100
开云手机平台2516A
开云手机平台2516D
开云手机平台2516B
开云手机平台9056C
开云手机平台9056D
开云手机平台9156A
DC-DC升压恒流
DC-DC升压恒流
开云手机平台8533
开云手机平台8533B
开云手机平台8536
开云手机平台6608
开云手机平台6607
开云手机平台8006
开云手机平台6605
开云手机平台8830C
开云手机平台8530B
开云手机平台8530A
LDO稳压芯片
LDO稳压芯片
开云手机平台6119
开云手机平台1117
开云手机平台75XXH
开云手机平台6203H
开云手机平台6219
开云手机平台78M12
开云手机平台78M05
开云手机平台6203
开云手机平台75XX
开云手机平台73XX
DC-DC升压IC
DC-DC升压IC
开云手机平台8203
开云手机平台8204B
开云手机平台8210
开云手机平台8211
开云手机平台6813
开云手机平台1571B
开云手机平台1571
开云手机平台B628
开云手机平台1573
开云手机平台8335
线性降压恒流系列
线性降压恒流系列
开云手机平台7220
开云手机平台7210
开云手机平台7108
开云手机平台7102
开云手机平台7100
开云手机平台7140H
开云手机平台7140
开云手机平台7160
锂电池管理芯片
锂电池管理芯片
开云手机平台2822
开云手机平台4054H
开云手机平台4054B
开云手机平台4056
开云手机平台8057A
开云手机平台4057
开云手机平台4054
中低压MOS管
中低压MOS管
开云手机平台01P10X
开云手机平台35P10D
开云手机平台5830
开云手机平台2301X
开云手机平台2307
开云手机平台2312X
开云手机平台3054
开云手机平台3054X
开云手机平台3401X
开云手机平台3404
网站首页
开云(中国)
应用方案
新闻资讯
开云(中国)
当前位置:
主页
>
开云(中国)
>
DC-DC降压恒压
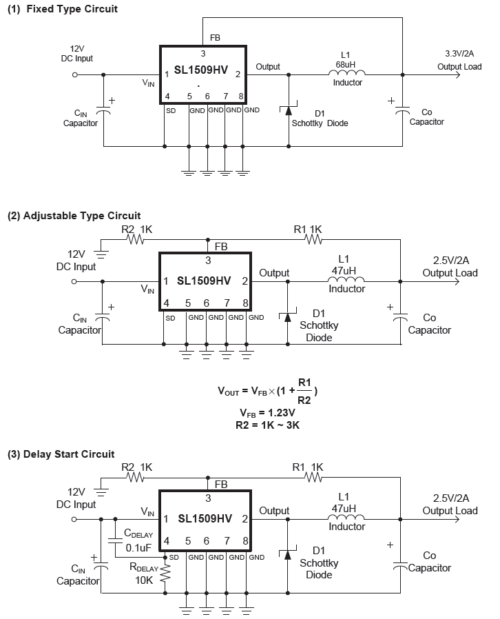
开云手机平台1509HV
DC-DC降压恒压
型号:开云手机平台1509HV
封装:SOP-8
输入范围:5.0V-48V
输出电压:ADJ/5V
输出电流:2A
工作频率:150KHZ
驱动MOS管:内置
静态电流:5mA
关断电流:100uA
立即询价
更详细资料 请查看规格书!
关闭
销售李工
销售曾工
销售李工2
销售吴工
销售曾工2
销售吴工2
手机号
15818532899
微信二维码
在线客服
华体会电子平台(官方)登录网站
|
MK网页版
|
开云电子·「中国」官方网站
|
九游网页版·官方站入口
|
星空在线平台
|
九游官方端入口
|
华体会电子(中国)有限公司官网
|
开云在线客服
|
安博足球_安博体育官方网站
|